|
|
|
|
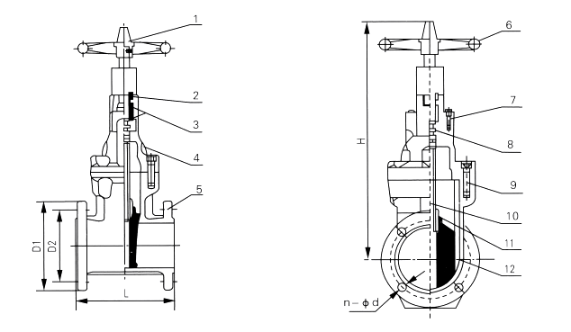
信號閘閥常應用于自動噴水消防管路系統(tǒng),來監(jiān)控供水管路,可以遠程指示閥門開度。升桿式閘閥及附開度指示閘閥也經常應用于消防系統(tǒng),如果閘閥安裝位置離地面較高時,一般使用升桿式閘閥,可以明顯指示閥門開度,若安裝位置較低,則需用附開度指示閘閥。





聯(lián)系人: 趙小姐
手機:13587731100
營銷總監(jiān): 周先生
手機:13587732299
座機:0577-67374888
傳真:0577-67374887
郵箱 :dazhong@dazhong-valve.com
地址:浙江溫州永嘉園區(qū)大道1060號
